Menü
Kezdőlap
Rólunk
Kapcsolat
Vásárlási fetételek
Vásárlási szabályzat
Adatvédelmi szabályzat
Kezdőlap
::
BÁLÁZÓGÉPEK
::
BÁLÁZÓ Z 562
::
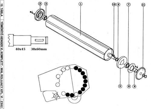
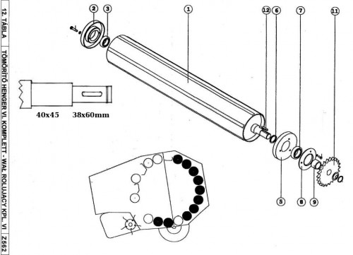
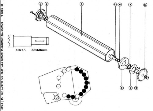
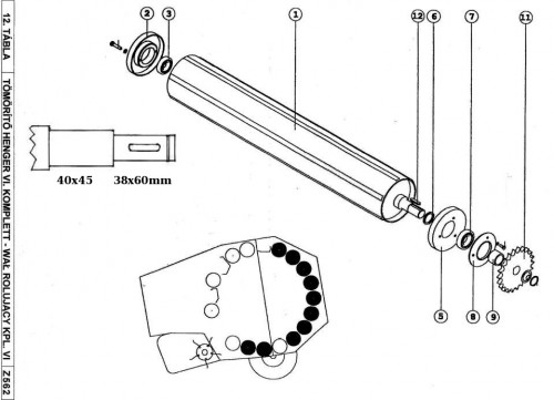
12Tömörítő henger VI
Persely
leiras
Regisztráció
Cikkszám:
000.000.088
Sorszám:
9