Menü
Kezdőlap
Rólunk
Kapcsolat
Vásárlási fetételek
Vásárlási szabályzat
Adatvédelmi szabályzat
Kezdőlap
::
BÁLÁZÓGÉPEK
::
BÁLÁZÓ Z 562
::
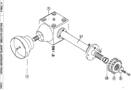
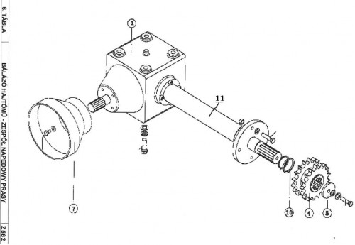
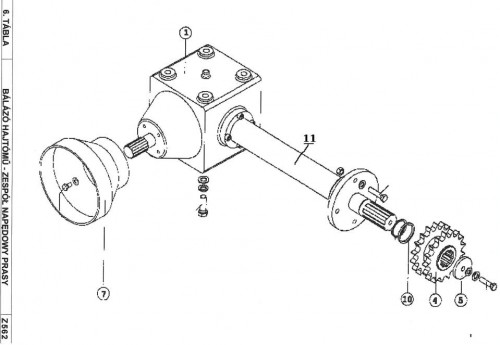
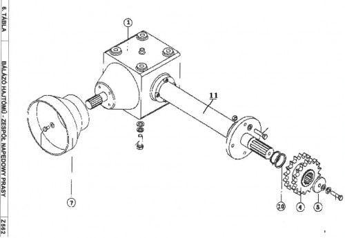
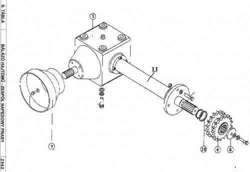
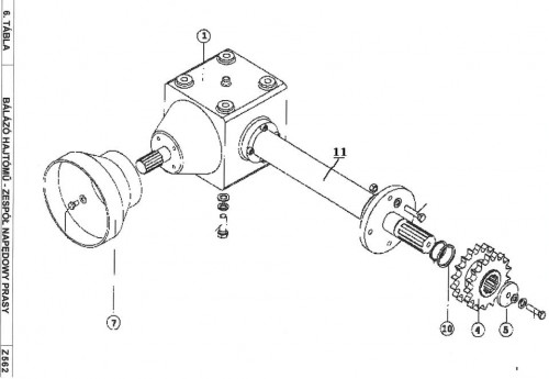
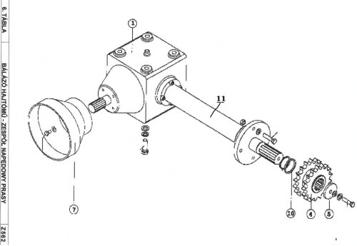
06Hajtómű
Meghajtó tengely
leiras
Regisztráció
Cikkszám:
000.008.1
Sorszám:
11