Menü
Kezdőlap
Rólunk
Kapcsolat
Vásárlási fetételek
Vásárlási szabályzat
Adatvédelmi szabályzat
Kezdőlap
::
BÁLÁZÓGÉPEK
::
BÁLÁZÓ Z 562
::
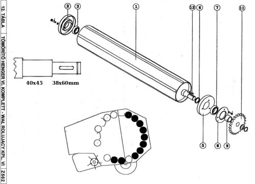
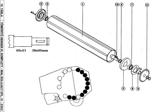
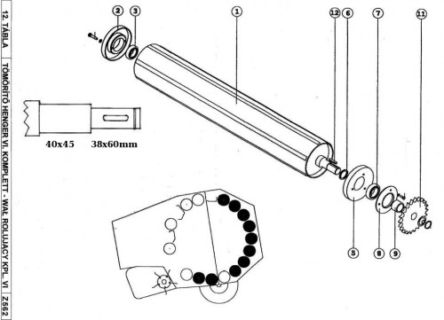
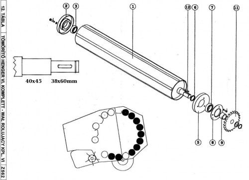
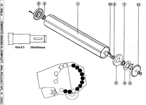
12Tömörítő henger VI
Lánckerék Z22
leiras
Regisztráció
Cikkszám:
000.081/I.000
Sorszám:
11