Menü
Kezdőlap
Rólunk
Kapcsolat
Vásárlási fetételek
Vásárlási szabályzat
Adatvédelmi szabályzat
Kezdőlap
::
BÁLÁZÓGÉPEK
::
BÁLÁZÓ Z 562
::
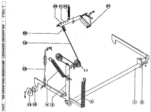
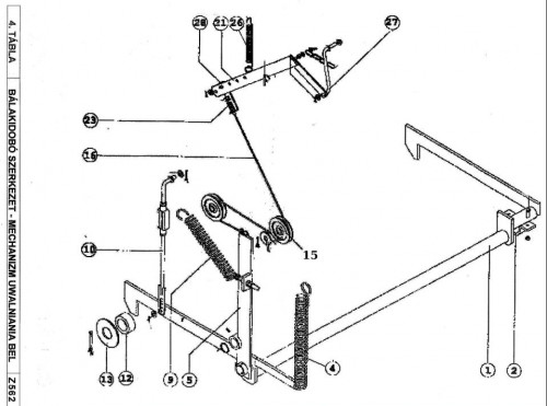
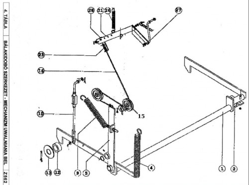
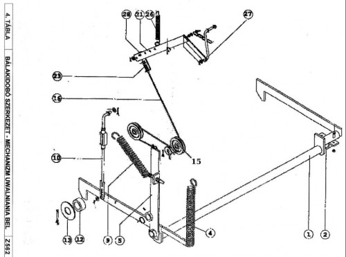
04Bálakidobó szerkezet
Karos rendszer
leiras
Regisztráció
Cikkszám:
000.009.000
Sorszám:
1