Menü
Kezdőlap
Rólunk
Kapcsolat
Vásárlási fetételek
Vásárlási szabályzat
Adatvédelmi szabályzat
Kezdőlap
::
BÁLÁZÓGÉPEK
::
BÁLÁZÓ Z 562
::
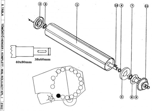
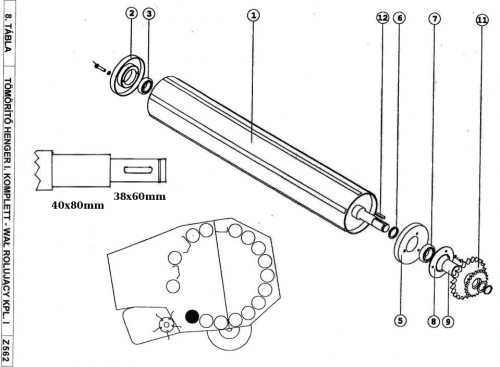
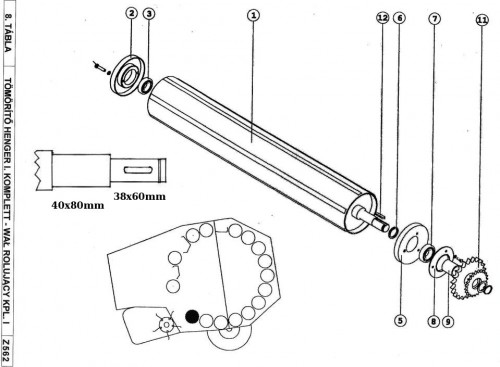
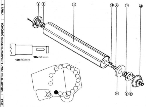
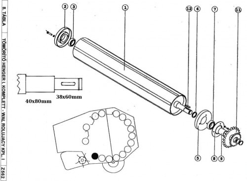
08Tömörítő henger I
Fedél II
leiras
Regisztráció
Cikkszám:
000.075.000
Sorszám:
5