Menü
Kezdőlap
Rólunk
Kapcsolat
Vásárlási fetételek
Vásárlási szabályzat
Adatvédelmi szabályzat
Kezdőlap
::
BÁLÁZÓGÉPEK
::
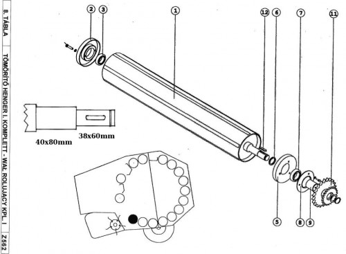
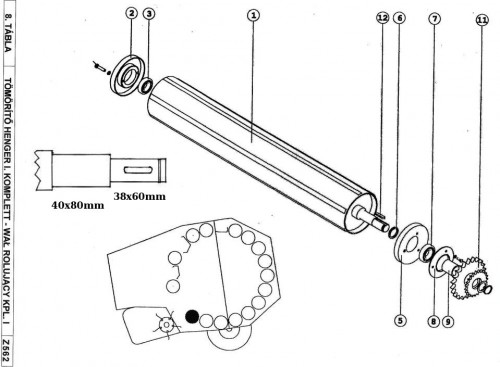
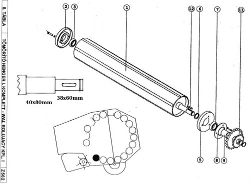
BÁLÁZÓ Z 562
::
08Tömörítő henger I
Csapágyház FAGP208
leiras
Regisztráció
Cikkszám:
208
Sorszám:
8