Menü
  • Kezdőlap
  • Rólunk
  • Kapcsolat
  • Vásárlási fetételek
  • Vásárlási szabályzat
  • Adatvédelmi szabályzat

Saját fiók

Regisztráció
Jelszó emlékeztetõ

    Termék kategóriák

  • ALKATRÉSZ
  • BÁLÁZÓGÉPEK
  • CSŐTÖRŐGÉPEK
  • ERDÉSZETI TARTOZÉK
  • FŰKASZÁK
  • FŰNYÍRÓK
  • KULTIVÁTOR
  • MŰTRÁGYASZÓRÓ
  • PERMETEZŐGÉP ALKATRÉSZ
  • PÓTKOCSI
  • RENDKEZELŐ
  • SZÁRZÚZÓ
  • TRAKTOROK
  • VETŐGÉPEK

Kosár

Kosár tartalma »

Vásárlási szabályzat

A vásárlással, megrendeléssel kapcsolatos információk megtekintése »

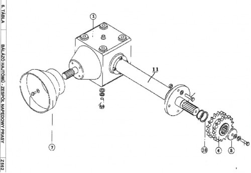
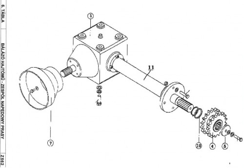
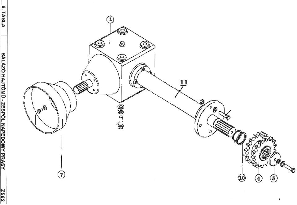
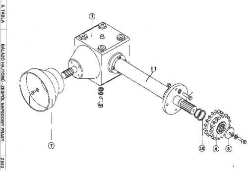
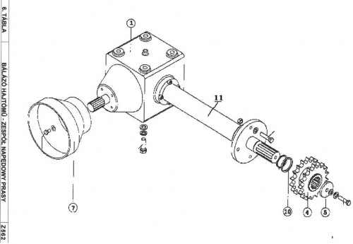
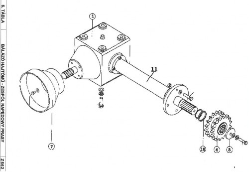
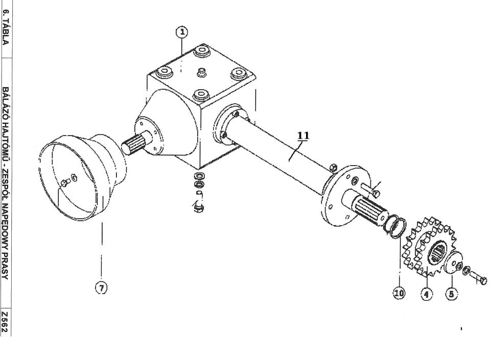
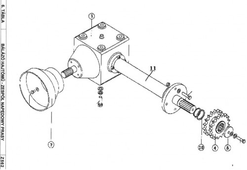
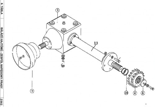
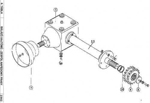
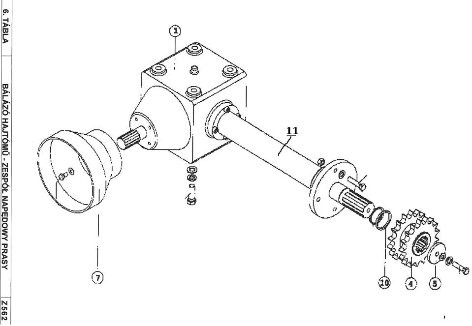
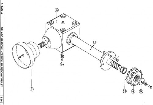
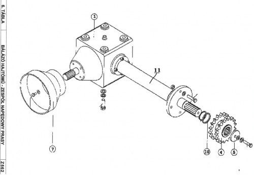
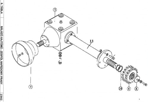
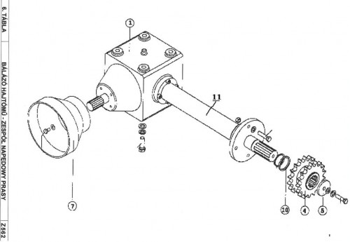
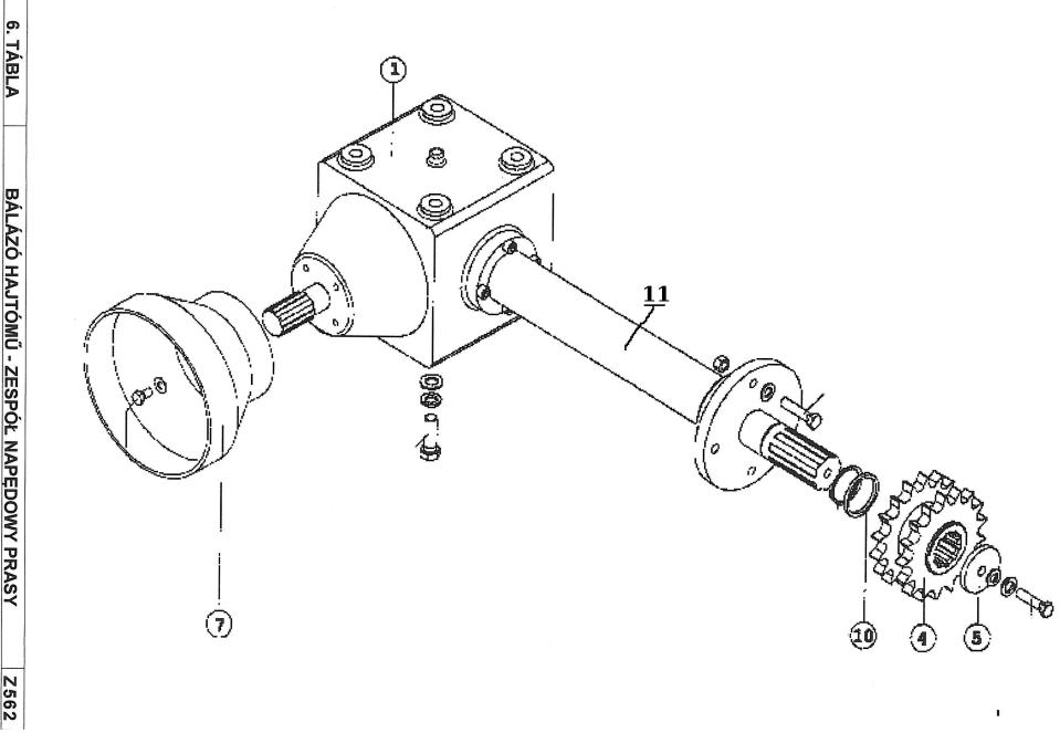
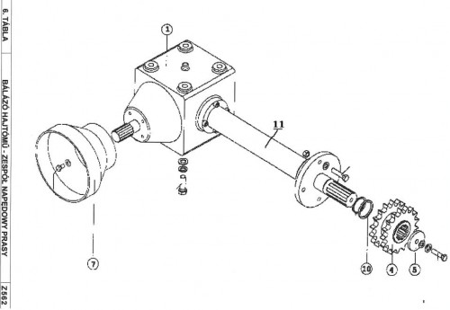
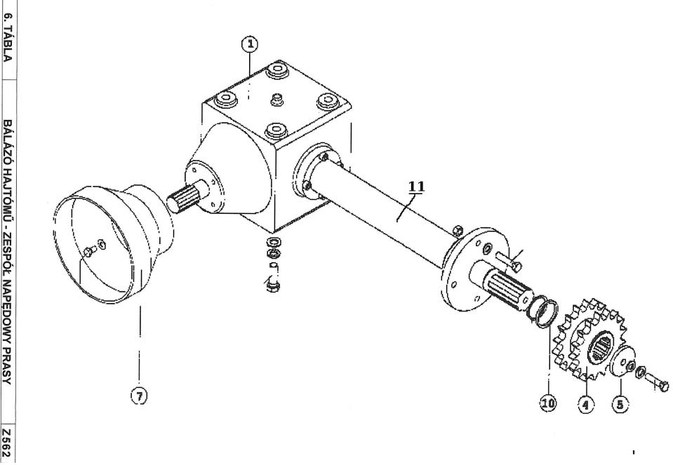
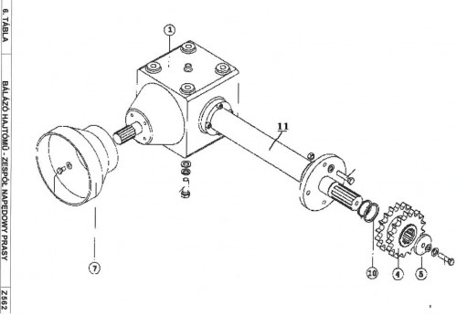
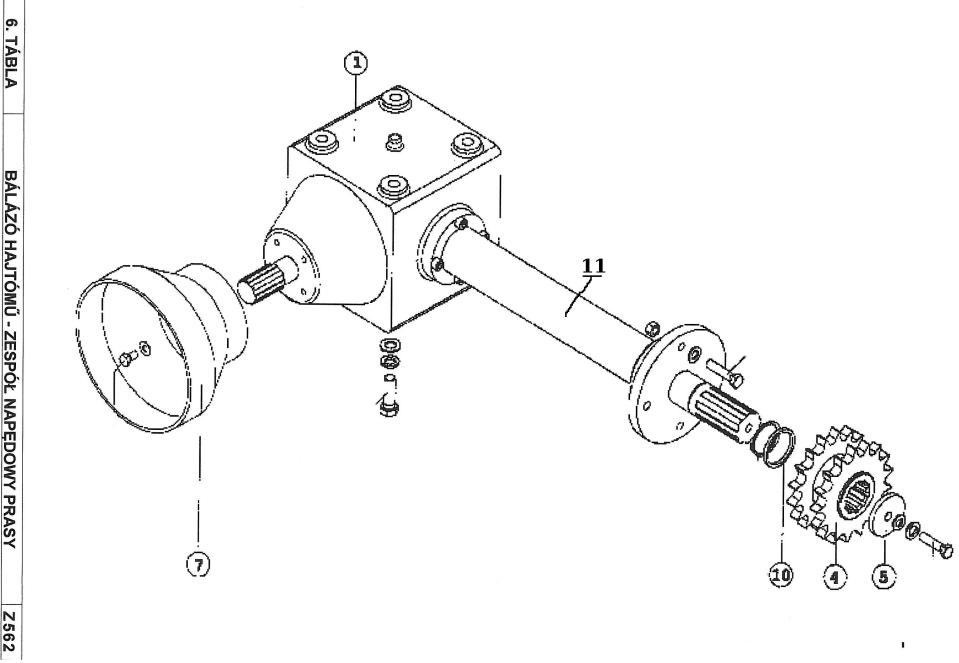
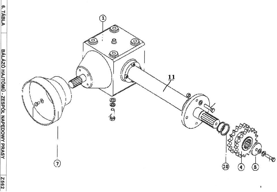
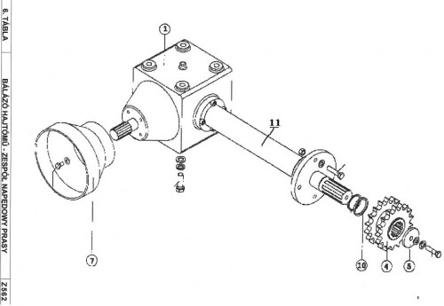
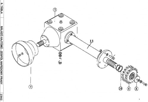
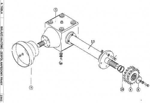
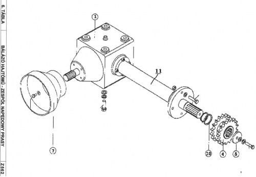
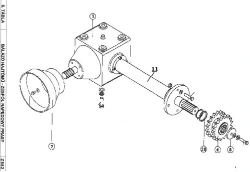
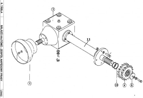
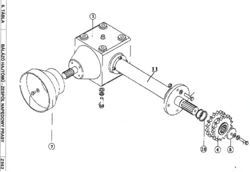
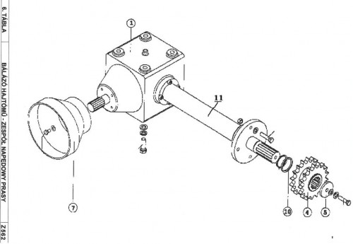
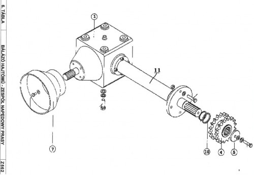
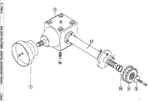
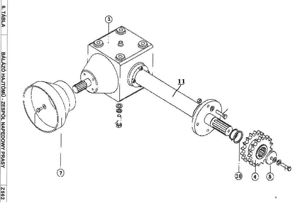
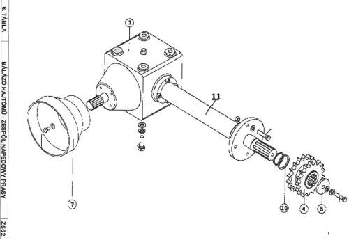
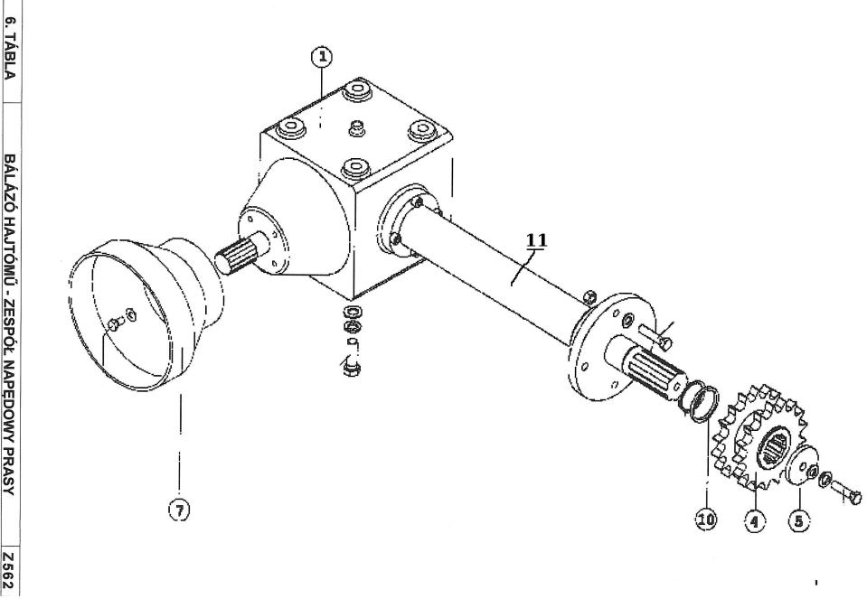
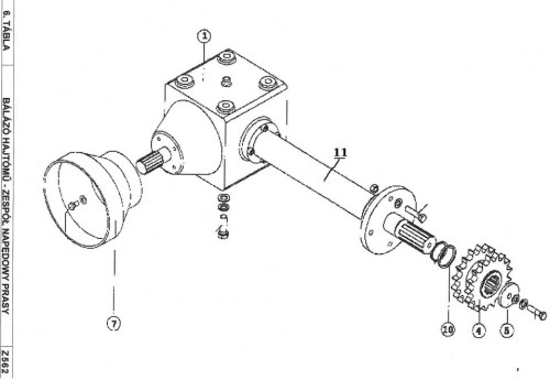
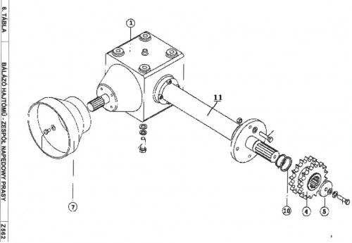
06Hajtómű

Alkatrészek

Cikkszám Név Ár Ajánlat
1 000.008.0

Hajtómű

0 Ft + áfa

Regisztráció

4 000.064.000

Lánckerék Z-17

0 Ft + áfa

Regisztráció

11 000.008.1

Meghajtó tengely

0 Ft + áfa

Regisztráció

2016 © Agroalkatrész | Minden jog fenntartva.